
Connection between CLT Wall elements

Connection of CLT floor element to Wall

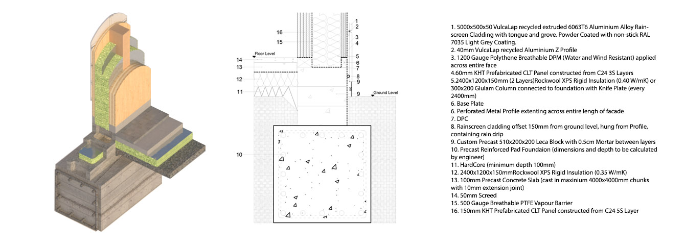
Foundation for dual CLT structure

Connection between CLT floor elements

Section Compromising All Details
Alpine Centre completed as part of dissertation project, created using AutoCAD and Sketchup (rendered in Vray)
Connection between CLT Wall elements
Connection of CLT floor element to Wall
Foundation for dual CLT structure
Connection between CLT floor elements
Section Compromising All Details